Photon キャラクター 名前

D4dj Photon Maiden フォトンメイデン メンバー一覧 声優キャスト公式コメント付 画像 Anichoice

Unityでオンラインマルチプレイ対応4 キャラクターを登場させる Unityを使った3dゲームの作り方 かめくめ

Dp20 Starliege Photon Blast Dragon Photon Vanisher Photon Change Beyond The Duel

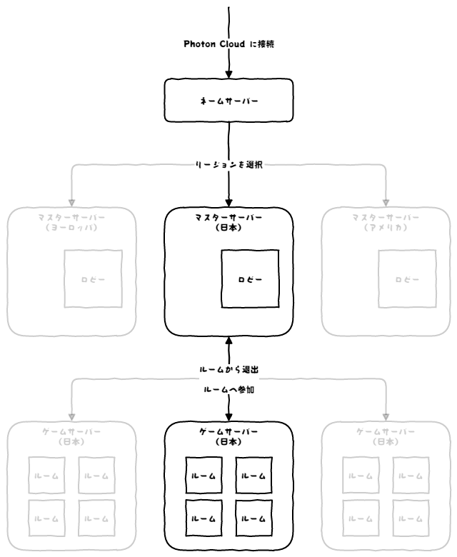
Pun2の予備知識 Pun2 Photon Unity Networking 2 で始めるオンラインゲーム開発入門

Naichilab Android Iosアプリ開発メモ Unity Photon Photoncloudでオンラインゲームつくっちゃおー

D4dj Photon Maidenから 9人目 出雲咲姫 ちゃん 制服姿が可愛すぎる グルミク速報

D4dj Photon Maiden フォトンメイデン メンバー一覧 声優キャスト公式コメント付 画像 Anichoice

新年スペシャル企画 D4djディグ御籤 公開 豪華福袋が当たるキャンペーンも開催 News D4dj ディーフォーディージェー 公式サイト

名探偵コナン キャラリウムストラップコレクション 単品 ブシロード Ec Shop

Unityでオンラインマルチプレイ対応5 プレイヤー名の表示と敵を攻撃した時の処理 Unityを使った3dゲームの作り方 かめくめ

Rebirth For You D4dj Td Ver Photon Maiden Lyrical Lily Freedomduoのcardgame D